
В глушителях принцип отражения потока пороховых газов для уменьшения скорости их истечения в пространство применяется довольно широко и имеет несколько вариантов: как с конусными перегородками, расположенными под различными углами (рис. 1),образующими расширительные камеры в корпусе, так и без перегородок вообще. В последнем случае передней и задней стенкам корпуса глушителя придается особая форма, и пороховые газы, попадая внутрь корпуса глушителя, многократно переотражаясь, теряют свою энергию и стравливаются через выходное отверстие. Глушители такого типа (однокамерный и двухкамерный) запатентованы Зигфридом Хюбнером и изготовлены фирмой "Walther" (рис. 2 а, б).
![]() |
|
| Рис.1.Глушитель рефлекторного типа с конусными перегородками, образующими расширительные камеры | |
![]() |
|
| Рис.2.Рефлекторные глушители без перегородок:
а — однокамерный; б — двухкамерный |
|
![]() |
|
| Рис.3.Глушитель к пистолету-пулемету "Walther МP-К":
1 — отверстия-"турбинки"; 2 — глухая камера; 3 — рефлектор-отражатель; 4 — конус-отсекатель; 5 — камера предварительного расширения |
|
![]() |
|
| Рис.4.Глушитель к пистолету-пулемету "Heckler & Koch MP-5":
1 — трубка с отверстиями; 2 — рулоны сетки-теплообменника; 3 — перегородки |
|
![]() |
|
| Рис.5.Вставка глушителя пистолета-пулемета "Кипарис" (Россия) | |
![]() |
|
| Рис.6.Блок-вставка диафрагм к глушителям изделий ВСС "Винторез" и АС "Вал" (Россия) | |
![]() |
|
| Рис.7.Глушитель к пистолету-пулемету "Heckler & Koch MP-5SD":
1–4 — перегородки; 5 — сварной шов; 6 — корпус |
|
![]() |
|
| Рис.8. Глушитель к винтовке "SSR Mк3":
1 — камера предварительного расширения; 2–13 — расширительные камеры |
|
![]() |
|
| Рис.9.Насадка В. Джорела:
1 — канал; 2 — пуля; 3 — расширительная камера; 4 — щели; L — расчетная длина канала |
|
![]() |
|
| Рис.10. Насадка Д. Холзера:
1 — конус-раструб; 2 — каналы для поступления атмосферного воздуха; 3 — труба — смеситель |
|
![]() |
|
| Рис.11.Насадка к гладкоствольному карабину "Сайга-20": | |
|
|
Этой же фирмой для пистолета-пулемета "Walther MP-К" разработан очень "хитрый" комбинированный дульный глушитель (рис. 3), сочетающий в себе принцип многократного расширения пороховых газов в расширительных камерах, их завихрения за счет просверленных под углом отверстий (1) в глухие расширительные камеры (2), переотражения (3) и разделения за счет конусных перегородок (4).
Фирма "Heckler&Koch" свою модель пистолета-пулемета "MP-5" комплектует глушителем, состоящим из нескольких расширительных камер, часть из которых заполнена металлической сеткой-теплообменником, а перегородки остальных выполнены в форме усеченного конуса с вытянутым в трубку отверстием для свободного пролета пули (рис. 4). При этом внутри расширительных камер с сеткой-теплообменником проходит стальная трубка — продолжение ствола с интегрированными газоотводными отверстиями в стенках.
Подобную конструкцию имеет также глушитель пистолета-пулемета "Кипарис" производства России. Разница между этими двумя конструкциями глушителей заключается в замене конусообразных перегородок "MP-5" плоскими шайбами-диафрагмами, закрепленными в основании корпуса под некоторыми углами друг к другу (рис. 5). Такое конструкторское решение — проще и дешевле. Подобные блоки диафрагм применяются также в глушителях моделей спецоружия — ВСС ("Винторез") и АС ("Вал") производства России (рис. 6).
Конструкторы фирмы "Heckler & Koch" разработали оригинальный глушитель к пистолету-пулемету "MP-5SD" (рис. 7). Внутри корпуса глушителя помещается конструкция, выполненная из листового металла, элементы которой изготовлены методом штамповки и соединены сваркой. Конструкция представляет собой четыре перегородки-отсекателя, имеющие форму волнорезов под различными углами и развернутые на 90° относительно друг друга. На стыке (ребре) плоскостей перегородок-отсекателей выполнены отверстия для пролета пули. Потоки пороховых газов, обтекая плоскости первого и минуя второй "волнорез", отводятся вдоль корпуса глушителя. Газы, прорвавшиеся вслед за пулей через первый "волнорез", попадают во второй, расположенный под углом 90° относительно первого. Сталкиваясь под разными углами, они, перемешиваясь и переотражаясь, теряют свою энергию и выходят в следующую пару "волнорезов", где процесс повторяется, а затем — наружу. Положительным качеством этой конструкции считается невозможность возникновения явления резонанса в газовой среде при завихрении потоков и увеличение эффективности работы глушителя.
Финская фирма "Вайменинметалли" в одной из своих конструкций глушителя разместила перегородки не только под вертикальными, но и под горизонтальными углами наклона друг к другу (рис. 8). В результате в корпусе глушителя образовалась одна камера предварительного расширения и двенадцать расширительных камер неправильной формы. Благодаря такой конструкции повысилась хаотичность движения молекул газа и соответственно число их столкновений, в результате которых теряется энергия, что способствует высокой эффективности работы глушителя. Этот глушитель был разработан в 1977 г. и проходил испытания на финской снайперской винтовке "SSR Mk3" калибра .22 L.R., где и подтвердил свою эффективность. Однако в процессе производства такого глушителя выявился его существенный недостаток: нетехнологичность — трудность сопряжения косых перегородок, — помешавший его серийному выпуску.
Помимо дульных глушителей, в мире оружия распространены насадки, которые не глушат, а скорее смягчают звук выстрела. Одна из таких насадок была запатентована Вильямом Джореллом в январе 1959 г. Суть его изобретения (рис. 9) заключается в том, что канал (1) определенной, экспериментально подобранной длины L начинается от дульного среза и имеет диаметр чуть больше диаметра ведущей части пули или обтюратора пыжа-концентратора (в случае применения дробового снаряда). Через зазор, образовавшийся вылетевшей из ствола пулей (2) и стенками канала насадки, пороховые газы, обгоняя снаряд, устремляются вперед и их давление постепенно снижается. Вырвавшиеся газы попадают в расширительную камеру (3), где их давление продолжает уменьшаться и они стравливаются через две вертикальные щели в корпусе насадки (4), выполняющие в какой-то мере и роль дульного тормоза. Поскольку пуле необходимо некоторое время для того, чтобы пролететь отрезок, равный длине канала, то значительная часть газов успевает плавно выйти и стравиться, чем и достигается более приемлемый для человеческого уха звук выстрела.
Насадка другого типа изобретена Д. Холзером и с 1975 г. выпускается английской фирмой "Тэйлор" (рис. 10). Такая насадка состоит из конуса-раструба (1), внутренний диаметр стыкующейся со стволом части которого равен диаметру канала ствола оружия. Внутренняя часть конуса-раструба подобрана таким образом, что давление вылетающих расширяющихся и отражающихся от стенок пороховых газов значительно ослабевает. Вырвавшись из конуса-раструба они начинают работать по принципу струйного насоса, то есть они подсасывают через каналы (2) атмосферный воздух в трубу (3) корпуса насадки, внутри которой происходит их интенсивное перемешивание и охлаждение, приводящее к смягчению звука выстрела.
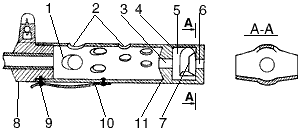
Еще одна насадка такого типа была создана и опробована автором данной статьи на гладкоствольном карабине "Сайга-20", который отличается очень резким звуком выстрела (рис. 11). Она состоит из двух камер. В первой, более объемной (1), высверлены под некоторыми углами сверху и с боков отверстия (2). Через них опережающие снаряд пороховые газы и газы, вылетающие из канала ствола в тот момент, когда отверстие (3) в перегородке (4) перекрыто снарядом, выходят наружу. Когда их потоки сталкиваются, происходит активное смешивание и завихрение, а в следствие этого — падение скорости и смягчение звука выстрела. Часть газов, прошедшая во вторую камеру (5) в тот момент, когда выходное отверстие (6) перекрыто вылетающим снарядом, выходит через два боковых окна (7) с направляющими пластинами —"ушами", образующими активнo-реактивный дульный тормоз, который смягчает отдачу и делает минимальным подбрасывание оружия. Насадка навинчивается по резьбе на муфту (8) и фиксируется в нижней части штифтом (9), закрепленным на плоской пружине (10), прикрепленной в свою очередь к корпусу насадки (11). Крепление дульных насадок и глушителей на оружие — очень важный процесс. Наилучшим и самым распространенным способом является навинчивание с помощью нарезанной у дульного среза ствола резьбы, обычно левого направления. Нарезание резьбы — операция очень ответственная ведь малейший перекос, учитывая длину насадки, может привести к нежелательным последствиям. В тех случаях, когда резьбу на стволе нарезать не представляется возможным, применяют адаптеры (они использовались еще в глушителях Х.П. Максима) (рис. 12). Один из вариантов адаптеров имел четыре пропила, и его, плотно насадив на ствол, стягивали хомутом. Другой вариант адаптеров имел Г-образный паз и крепился на стволе байонетным способом — проворотом вокруг стойки мушки. Возможна также посадка на ствол (у дульного среза) муфты с резьбой методом нагрева и быстрого охлаждения последней. При удачном расчете посадочных размеров муфта намертво садится и не требует дополнительного штифтования.
Советские глушители военных лет крепились на стволе байонетным способом без всяких адаптеров. У немецкого пистолета-пулемета "Heckler & Koch MP-5" на стволе выполнялись три специальных выступа, позволяющие быстро и надежно закрепить насадку.
Нестандартное решение пришлось искать конструкторам знаменитого "Uzi". Этот пистолет-пулемет выпускался большими партиями со стволами, на которых первоначально не предусматривалось крепление глушителя. Позже, когда к нему был разработан глушитель, пользователи этого пистолета-пулемета захотели его приспособить для своего оружия. Инженеры-оружейники удачно решили эту задачу, создав адаптер в самом глушителе (рис. 13). Такой адаптер представлял собой клинообразное кольцо-зажим с прорезью (1), которое, будучи подтянуто накидной гайкой (2), надежно фиксировало насадку на стволе. Большая длина открытого участка ствола тоже сыграла положительную роль. Ствол оружия плотно входил в трубку (3), идущую внутри корпуса (4) до упора, что предохраняло насадку от перекосов. Впрочем, еще одна деталь в этом глушителе отличалась оригинальной конструкцией. При наличии стандартного решения с расширительными камерами глушитель имел каналы, стравливающие часть газов наружу подобно отечественному ПБС. Сразу за трубкой, которая одевалась на ствол, внутри корпуса находилась перегородка (5) с четырьмя капиллярными каналами (6). Пороховые газы, отраженные от первого конуса-рефлектора (7), проходя через каналы (6) перегородки (5), попадали в полость камеры предварительного расширения (8), образованную трубкой и корпусом глушителя, где их давление падало. Двигаясь дальше, в противоположную полету пули сторону, они попадали в капиллярные каналы (9), сделанные в адаптере (10) и истекали наружу.
Подведем некоторые итоги применения многокамерных глушителей Звук выстрела, произведенного из оружия с глушителями такой системы, всегда громче, чем ожидается, поэтому утверждения о совершенной бесшумности выстрела несостоятельны. Реально эти насадки обеспечивают уровень снижения громкости звука выстрела на 20-30 дБ. Для сравнения: громкость работы пишущей машинки — около 56 дБ; звук выстрела из пневматической винтовки — 101 дБ, из малокалиберной винтовки — 140 дБ, из малокалиберного пистолета — 155 дБ, из боевого пистолета — 163 дБ, автомата — 165 дБ. Эти данные приблизительны, так как реально уровень звука выстрела зависит от длины ствола оружия, типа патрона, а также объема окружающей среды (закрытое помещение или открытая местность и пр.).
Наиболее эффективное глушение звука выстрела происходит при стрельбе патронами с дозвуковой начальной скоростью пули, в противном случае образуется баллистическая ударная волна, проявляющаяся в виде хлопка различной громкости (в зависимости от калибра и скорости снаряда). При использовании этих глушителей увеличивается разброс попаданий, ухудшаются внешнебаллистические характеристики оружия (значительно понижается траектория полета пули, на дистанции 100 м достигающая 20 см и более, причем, чем более эффективен глушитель, тем отчетливее проявляются эти явления).