
Совершенствование многокамерных глушителей привело к созданию классического варианта конструкции, предусматривающему после дульного среза ствола оружия установку камеры предварительного расширения, большей по объему в несколько раз каждой из последующих расширительных камер, разделенных между собой диафрагмами.В простейшем случае объемы расширительных камер одинаковы (рис. 1). В более сложных конструкциях, в зависимости от степени падения давления, объемы камер несколько уменьшаются относительно друг друга, и самый меньший объем имеет камера, после которой газы выходят наружу (рис.2). Подобные конструкции легко изготавливаются и поэтому выпускаются, несмотря на свои недостатки, особенно широко под малокалиберные патроны калибра .22 L.R. Основной их недостаток заключается в том, что обгоняющие пулю пороховые газы, выходя наружу, производят демаскирующий хлопок, который обусловлен их прорывом между пулей и стенками канала ствола (см. рис. на цветной вкладке). Поскольку отверстия в диафрагмах выполняют несколько большими, чем диаметр пули (чтобы избежать касания пулей стенок перегородок), пороховые газы минуют расширительные камеры и эффект глушения резко снижается. Для того, чтобы устранить этот недостаток, между камерами устанавливают одну или несколько мембран. Запатентованные в 1933-36 гг. Гансом Айсфелдом из Гамбурга несколько конструкций глушителей содержат перегородки — обтюраторы, выполненные из резины или толстой кожи, пропитанной маслом. В центре обтюраторов, на линии полета пули, выполнены крестообразные надрезы. Отражая опережающие пулю газы, такой обтюратор пропускает пулю и вновь смыкает края надрезов (рис. 3). В другом случае толстые шайбочки-обтюраторы из специальной резины простреливаются пулей и смыкаются за ней, перекрывая отверстие. При всей простоте конструкции недостаток таких устройств очевиден — малая живучесть мембран и обтюраторов. Вследствие этого от выстрела к выстрелу качество глушения звука ухудшается. С этим можно мириться, принимая во внимание простоту их изготовления и обслуживания.
![]() |
| Рис. 1.Простой многокамерный глушитель |
![]() |
| Рис. 2.Усложненный многокамерный глушитель |
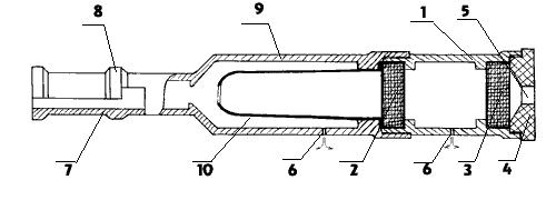
Именно описанная выше схема легла в основу конструкции самого распространенного глушителя второй мировой войны — советского "Брамита" конструкции братьев Митиных (рис. 4). Этот глушитель представлял собой цилиндр, раскручивающийся на две части. В переднюю часть (1) вставляли два обтюратора, один (2) из которых зажимался при скручивании корпуса, а другой (3) при закручивании крышки (4) с выходным отверстием (5). Обтюраторы делили внутренний объем глушителя на две камеры, имевшие каждая сбоку по маленькому отверстию (6), через которые газы стравливались наружу. На стволе "Брамит" закреплялся подобно штыку с помощью Г-образного паза (7) (байонетное крепление). Посадочная трубка (8) составляла единое целое с задней частью цилиндра (9), в камеру которого вставлялся отсекатель (10) опережающих пулю пороховых газов.
Предназначался такой глушитель для винтовки Мосина, выстрел из которой производился в случае его применения патроном с уменьшенной навеской пороха. Этот патрон отличался окраской всей пули до дульца гильзы или капсюля в зеленый цвет.
Для нужд НКВД перед войной был разработан глушитель к револьверу "Наган", который применялся в основном с его укороченной модификацией образца 1930 г.
![]() |
| Рис. 3. Глушитель запатентованный Гансом Айсфелдом в 1936 г.:
1 — корпус; 2 — мембрана; 3 — войлочный наполнитель; 4 — мембрана с тремя разрезами. Вид спереди |
Выбору револьвера в качестве бесшумного оружия способствовало то, что перед выстрелом его барабан надвигался на ствол, дульце гильзы патрона плотно входило в канал ствола и прорыва пороховых газов между барабаном и стволом во время выстрела не было. К тому же револьвер в случае осечки позволял следующий выстрел произвести новым патроном без дополнительных манипуляций с оружием. Глушитель к "Нагану" в одном случае имел 9 обтюраторов, простреливаемых пулей (рис. 5а), которая в этом случае при снаряжении патрона заменялась на остроконечную. В другом варианте исполнения глушитель имел резиновые диафрагмы с отверстиями конической формы узкой частью ориентированные к выходу (рис. 5б).
В данном случае речь идет о разных вариантах одной и той же конструкции, так как в основном они идентичны и представляют собой камеру предварительного расширения, за которой располагается ряд расширительных камер, последовательно, в направлении полета пули, уменьшающихся в объеме. Закреплялся глушитель на стволе с помощью проворота вокруг мушки по Г-образному пазу. Существовал аналогичный по конструкции револьверному глушитель к винтовке СВТ-40, который, скорее всего, предназначался для ее снайперской модификации, где прицеливание осуществлялось с помощью оптического прицела.
Рис.4.Глушитель "Брамит": |
|
|
|
Крепился он традиционно, проворотом трубки за стойку мушки, перекрывая последнюю своим корпусом. Передняя часть дульного тормоза винтовки входила в камеру предварительного расширения глушителя, задняя часть служила посадочным местом и часть вертикальных прорезей или одна квадратная перекрывались трубкой. Последовательно уменьшались в объеме также 12 расширительных камер и разделялись между собой диафрагмами с коническими отверстиями (рис. 6).
Все эти образцы представляли собой опытные экземпляры, выпускающиеся малыми сериями. Немецкие специалисты разработали глушитель к карабину "Mauser-98-k", взяв за основу конструкцию "Брамита" и изменив параметры посадочного места под размеры своего оружия. Гильза немецкого патрона с уменьшенной навеской пороха окрашивалась ярко-зеленым лаком. Существовало и несколько более сложных конструкций. Один из таких вариантов состоял из шести конических перегородок, отклоняющих газовый поток от центральных отверстий к периферии (рис. 7).
![]() |
| а.Первый вариант |
![]() |
| б.Второй вариант
Рис.5.Глушитель к револьверу "Наган" |
![]() |
| Рис.6.Глушитель к винтовке СВТ-40: |
| 1— дульный тормоз-компенсатор СВТ-40;
2— посадочная трубка глушителя; 3— стойка мушки, за которую фиксаруется глушитель; 4— стойка фиксатора шомпола, выполняющая роль упора трубки глушителя |
![]() |
| Рис.7.Глушитель к карабину "Mauser-98-k". Первый вариант |
![]() |
| Рис.8.Глушитель к карабину "Mauser-98-k". Второй вариант |
![]() |
| Рис.9.Глушитель к карабину "Mauser-98-k". Третий вариант |
![]() |
| Рис.10.Глушитель к пистолету-пулемету "Ingram" 1 — Рулон металлической сетки — теплоотвода;
2 , 3 — спирали, свернутые в противоположных направлениях; 4 — обтюратор; |
В более сложном варианте подобные конусы, но меньшего размера, вставлялись в перегородки между камерами и своей конфигурацией образовывали подобие вихревых камер, из которых через ряд капиллярных отверстий газы стравливались наружу (рис. 8). А в глушителях с длинным корпусом небольшого диаметра была расположена длинная лента, свернутая в спираль. Поток газов, расширяясь и закручиваясь вдоль спирали, проделывал путь в несколько раз длиннее, чем размер самого глушителя (рис. 9). При использовании этого принципа в малокалиберном оружии спиралью может служить подобранная по размеру токарная стружка из алюминия или меди.
Интересный вариант глушителя со спиралью разработали конструкторы для пистолета-пулемета "Ingram" (рис. 10). Он содержит две спирали, свернутые в противоположных направлениях, заключенные в рулон сетки, выполняющей роль теплоотвода. Часть газа закручивается по каналу, идущему от дульного среза ствола, а часть, проходя через сетку, напрямую обгоняет этот поток и попадает на спираль, закрученную в противоположную сторону, продвигаясь по каналу в обратную сторону. В результате встречи двух противопотоков внутри корпуса, общая скорость истечения газов резко падает, что особенно заметно при стрельбе очередями. В данном случае речь идет не о бесшумном оружии, а об оружии, из которого ведется стрельба с рассеянным звуковым фоном. Резкий и очень громкий звук выстрела при глушении становится мягким и значительно более слабым, но все же слышен в радиусе нескольких десятков метров.
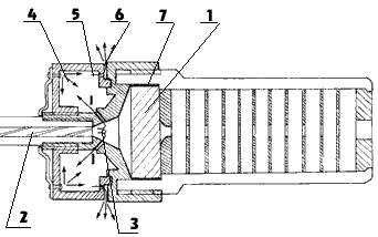
Глушитель аналогичного назначения разработан в СССР — прибор бесшумной стрельбы (ПБС) к автомату Калашникова (рис. 11 и рис. на цветной вкладке). ПБС устанавливается на ствол вместо дульного тормоза-компенсатора или защитной муфты. Конструктивно он выполнен таким образом, что резиновый обтюратор (1) находится очень близко к дульному срезу (2). Опережающие пулю пороховые газы выходят в четыре отверстия (3) малого диаметра, просверленные под таким углом в расширительную камеру (4), что поток направлен в пространство, образуемое дном и стенкой камеры. Эти отверстия служат своего рода рефлектором: отражая и рассеивая газовые струи уменьшают скорость их истечения, беспорядочно перемешивая молекулы. Далее пороховые газы, находящиеся под давлением, стравливаются в атмосферу через четыре аналогичных отверстия (5), расположенных не по периметру корпуса, как у ранних советских и немецких насадок, а внутри его. С окружающим пространством отверстия сообщаются посредством узкой щели шириной 0,2 мм (6), — газовая струя ударяется сначала в противоположную отверстию стенку, а затем, отразившись и рассеявшись от нее, вырывается наружу. Пуля же, пробив обтюратор, проходит через отверстия одиннадцати расширительных камер. Пороховые газы, прорвавшиеся вслед за ней до момента смыкания резины теряют давление и скорость последовательно проходя через расширительные камеры. Сам обтюратор вставляется в металлическую обойму (7), которая предохраняет его от разбухания во время работы и облегчает замену. Стрельба производится патронами уменьшенной скорости (УС) калибра 7,62х39 мм с утяжеленной для компенсации потери скорости пулей. Масса порохового заряда 0,54 г, пули — 12,66 г. Головная часть пули окрашена черным цветом с зеленым пояском (рис. на цветной вкладке).
![]() |
| Рис.11.ПБС: 1 — резиновый обтюратор;
2 — дульный срез оружия; 3 — четыре отверстия для пороховых газов; 4 — расширительная камера; 5 — четыре отверстия для стравливания пороховых газов в атмосферу; 6 — щель шириной 0,2 мм; 7 — обойма обтюратора. |
Патрон УС рассчитан на стрельбу из автомата Калашникова с длиной ствола 415 мм и нарезами в нормальном состоянии. В этом случае начальная скорость пули — 310 м/с. При изношенных нарезах канала ствола ее скорость может превысить дозвуковую, а при более длинном пулеметном стволе, наоборот, — упасть ниже расчетной.
Превышение траектории полета пули при стрельбе патронами УС с ПБС составляет: на 100 м — 14 см, на 200 м — 59 см, на 300 м — 140 см, на 400 м — 258 см с последующим очень крутым снижением траектории. Поэтому на автомат с ПБС, предназначенный для ведения бесшумного огня, устанавливается вместо стандартной прицельной планки специально приспособленная для этого случая. Вследствие крутизны траектории полета пули дистанцию до цели нужно определять особенно тщательно, и чем дальше цель, тем меньше должна быть возможная погрешность. Проверка боя и пристрелка оружия производится после установки очередного обтюратора и производства нескольких выстрелов для образования пулевого канала. По мере износа обтюратора средняя точка попадания смещается в связи с изменением условий выстрела.
![]() |
| Рис.12.Глушитель к винтовке M16 |
Отметим, что встречающиеся в специальной литературе данные о сроках службы одного обтюратора в 100 и даже в 200 выстрелов явно завышены и вопрос скорее стоит о допустимом пределе качества глушения, так как после 20-30 выстрелов качество обтюрации начинает падать. Корпус ПБС в точке А-А (рис. 11) ослаблен для того, чтобы при избыточном давлении пороховых газов не произошло поломки ствола. Поэтому "специалист", сумевший пристроить ПБС на ствол "Тигра" или аналогичного оружия и стреляющий стандартными патронами, скорее всего, в результате будет иметь только посадочную муфту, оставшуюся на стволе, и оторвавшийся и улетевший вперед корпус прибора.
Американские специалисты пошли по другому пути. Для винтовки М16 ими создан глушитель без обтюраторов, но с перегородками сложной формы. Перед дульным срезом в конструкции их глушителя стоит рефлектор, а затем последовательно рассекающие струю газа и направляющие ее на периферию перегородки (рис. 12). Этот прибор, имея, по сравнению с ПБС, большую длину, позволяет вести огонь любыми патронами без повреждения ствола, а вот качество глушения звука выстрела при использовании стандартных патронов падает.