
"…Пленные агенты сообщили нам, что в английских спецшколах используются для тренировок в стрельбе бесшумные пистолеты. В Германии до сих пор не производился этот вид оружия...Через две недели, когда я снова приехал в Гаагу, мне передали образец этого оружия — пистолет калибра 7,65 мм, несколько примитивной конструкции, что, возможно, делает его более надежным и менее подверженным капризам механизмов. Если бы он был только более совершенным!.. Я немедленно провел испытание, выстрелив прямо в раскрытое окно нашей голландской конторы по стае уток, прогуливавшихся вдоль канала. Я мог засвидетельствовать, что выстрела почти не было слышно — на улице никто из прохожих даже не повернул голову.
![]() |
| 1 — расширительная камера;
2 — диафрагмы — вихревые камеры |
![]() |
| 1 — корпус; 2 — диафрагмы;
3 —лопасти |
| Рис. 1.Два варианта глушителя Максима образца 1908 г.
а — первый вариант; б — второй вариант |
…По нашим сведениям у англичан имелся "глушитель" к пистолету-пулемету "Стэн", но они держали его в строгом секрете……В конце июля 1943 г. я уже держал в руках образец этого устройства, первого из попавших в Германию. Перед моим мысленным взором пронеслись сцены бесшумного боя, в котором можно было бы использовать это оружие.Группа в тылу врага, вооруженная автоматами с глушителями, могла избежать потерь при непредвиденной встрече с патрулем противника, она не рисковала при стрельбе привлечь внимание других вражеских подразделений, которые могли прийти на помощь. Я был убежден, что любой солдат диверсионного отряда или просто армейской разведгруппы должен иметь подобное оружие. Но руководство лаборатории вооружения в Берлине было другого мнения……Я показал этот глушитель нескольким высокопоставленным офицерам. Чтобы придать демонстрации особо яркий характер, я разыграл маленький спектакль. Пока мы прогуливались по парку — был уже поздний вечер — солдат, который шел за нами в отдалении, выпустил несколько очередей в воздух, опустошив целый магазин. Надо было видеть удивление ошеломленных офицеров, когда я показал им гильзы, усеявшие землю. Они выдвинули, однако, множество возражений. Убойная сила им, видите ли, показалась недостаточной, и точность стрельбы вроде бы уменьшалась при применении глушителя".Эти воспоминания принадлежат перу командира подразделений немецких "коммандос" Отто Скорцени, и написаны они уже после второй мировой войны. В них очень эмоционально показано столкновение двух противоположных точек зрения на проблему глушения звука выстрела.
![]() |
| Вкладыш, показывающий расположение лопастей, завихряющих газы |
Совершенствуя конструкцию оружия, постоянно убеждаешься — выигрывая в одном качестве, ухудшаешь другие параметры. В то время, о котором идет речь в мемуарах Скорцени, многим военным, занимавшимся проблемами вооружения, казалось неприемлемым, что в случае снижения звукового уровня выстрела происходит уменьшение прицельной дальности стрельбы и увеличение рассеивания попаданий. Диверсионные отряды "коммандос" с обеих воюющих сторон только создавались и взгляд на "бесшумное" оружие как на оружие узкой специализации еще только формировался в головах у таких практиков, как Скорцени. Но прошло несколько лет, началась "холодная война" с ее шпиономанией, и в теории вооружения в этом направлении стал наблюдаться заметный прогресс. И когда среди вещей, обнаруженных у пилота Пауэрса, сбитого над Уралом в мае 1960 г., оказался десятизарядный пистолет фирмы "Hi-Standard" модели "H-D" с глушителем вокруг ствола под малокалиберный патрон, это было воспринято как само собой разумеющееся. В настоящее время почти аналогичный пистолет под
![]() |
![]() |
![]() |
| Рис. 2.Три варианта глушителя Максима образца 1910 г.:
а – первый вариант; б – второй вариант; в – третий вариант |
названием "Фантом" выпускает французская фирма "Гоше", и предназначен он не для "шпионов", а для тех, кто любит поупражняться в стрельбе, при этом не мешая окружающим. В свою очередь, военное "бесшумное" оружие также претерпело некоторые изменения — увеличился калибр до 9 мм и улучшились боевые характеристики, а предназначение осталось прежним — для спецопераций. Насадки на штатное боевое оружие (типа "ПБС" для автомата Калашникова) помогают отдельному бойцу и небольшим подразделениям выжить в боевых столкновениях, создавая рассеянный звуковой фон, затрудняющий обнаружение местонахождения стрелка.
В недалеком прошлом самая главная часть "бесшумного" оружия — глушитель — был окружен ореолом таинственности для непосвященных. Тем не менее, любой человек каждый день сталкивается с подобными устройствами многократно. Это глушители автомобильных двигателей внутреннего сгорания, которые с оружейными собратьями объединяет общий принцип работы. С помощью предварительного расширения и завихрения газа в камерах понижается давление и скорость истечения выхлопа в атмосферу, чем достигается приемлемая для уха человека величина шума работы двигателя или ослабленный звук выстрела.
Идея ослабления звука выстрела впервые стала реализовываться не в военных, а в охотничьих целях. Изобретатель и оружейник Гринер, внесший большой вклад в развитие охотничьего оружия, разрабатывал подобное устройство во второй половине XIX в. Но его практической реализации помешало, скорее всего, не отсутствие "осознанной необходимости в глушителях", а применяемый в оружии того времени черный (дымный) порох. Нагар и несгоревшие его частицы обильно забивали полости устройства после первого же выстрела. Реальная возможность использования подобных устройств появилась с изобретением бездымного пороха.
Глушители, разработанные до настоящего времени, по принципу действия можно разделить на четыре группы (системы):
В 1889 г. некто В. Янзен, по сообщению В.Е. Маркевича, "пробовал закупорить ствол охотничьего ружья специальным металлическим пыжом, связанным из проволоки в виде снопика. В стволе прорезались две боковые щели: при выстреле снаряд уходил вперед, а газы должны были выходить наружу через эти щели. После выстрела пыж-ерш выбивали из ствола шомполом". Естественно, что такая грубая практическая реализация давала слабый эффект глушения звука выстрела, однако, толчок для дальнейшего развития этого принципа был дан.
В 1898 г. французский полковник Гумберт запатентовал уже надульное устройство, состоящее из корпуса с шариковым клапаном, отсекающим пороховые газы, следующие за вылетевшей пулей. Газы стравливались через ряд капиллярных отверстий, выполненных в корпусе глушителя, наружу, в сторону стрелка. Это изобретение было важно в теоретическом плане и открывало потенциальные возможности механической системы глушителей, однако, практического применения не нашло. Данному глушителю были свойственны три недостатка:
С тех пор как в Европе появились первые автомобили, бензиновый двигатель которых выбрасывал в воздух выхлопные газы со звуком, схожим на стрельбу, проблема глушителей занимала умы многих изобретателей. Поскольку выхлопную трубу двигателя перекрыть невозможно, энтузиасты-автомобилисты придумали достаточно много конструкций глушителя для своих нужд. Оставалось перенести эту идею в другую область техники и доработать ее применительно к огнестрельному оружию.
В 1899 г. датчанами Дж. Борренсеком и С. Сигбьернсеком был запатентован глушитель, содержащий в своей схеме диафрагмы и расширительные камеры. Это был другой принцип действия глушителя и, как оказалось, в то время практичный и технологически реализуемый. Инженеры-оружейники разных стран занимались разработкой подобных устройств, которые составили самую многочисленную группу "многокамерных дульных насадок" в начале ХХ в. Однако все они были неудачными, являясь скорее поиском физических закономерностей и изучением выстрела как такового.
Успех сопутствовал Х. П. Максиму, сыну изобретателя первого пулемета, и был вполне заслуженным. В течение нескольких лет он запатентовал целый ряд дульных насадок с различными вариантами завихрения истекающих пороховых газов для уменьшения их скорости и давления (рис. 1, 2). В 1910 г. Максим организовал промышленное производство своей последней модели, показавшей наилучшие результаты (рис. 2, в).
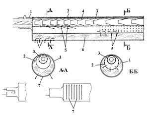
В Европе изобретатель Э. Тирлер в 1911 г. получил патент на систему, отличающуюся от глушителя Максима. Сама конструкция глушителя (рис. 3) была эксцентрическая и имела внутри корпуса еще две трубки. Одна проходила вдоль оси канала ствола и содержала двенадцать конических преград, узкой частью направленных к стволу. При этом поток пороховых газов разделялся и направлялся к стенкам трубки. Вокруг второго — пятого корпусов, считая от ствола, в стенках трубки были выполнены отверстия, сквозь которые пороховые газы проходили в другую трубку, внутри которой находилась первая. Особенностью конструкции являлось то, что первая порция газов, следовавших перед пулей и за ней, попадая в эту трубку, резко расширялась и, двигаясь вдоль нее по ходу выстрела, попадала уже в корпус самого глушителя через множество мелких отверстий, сосредоточенных в передней части стенки трубки. Корпус был заполнен металлической сеткой и мелкой стружкой из меди или латуни — материала, хорошо отводящего тепло. Пройдя в корпусе в обратном направлении через эту последнюю преграду, газ стравливался в нижней задней части глушителя.
![]() |
| 1 – корпус 2 – труба-лабиринт 3 – труба с диафрагмами- корпусами 4 – диафрагмы-корпуса 5 – отверстия 6 – теплообменник 7 – щели в корпусе |
| Рис.3.Глушитель Э. Тирлера образца 1911 г. |
Такая конструкция была новаторской с инженерной точки зрения. Кроме камер она имела лабиринт, увеличивающий путь, проходимый пороховыми газами, в два раза относительно общей длины корпуса. Она содержала также теплообменник, принудительно охлаждавший газы перед их выходом в атмосферу. Однако были и недостатки: конструкция была тяжелой, хотя, заменив медь или латунь на алюминий, ее смогли несколько облегчить; после нескольких выстрелов подряд металл теплообменника разогревался, и эффективность глушения падала. В целом конструкция получилась нетехнологичной, и вопрос о массовом ее применении, в отличие от глушителей Максима, где большинство деталей изготавливалось штамповкой, не поднимался.
В России свободная продажа глушителей гражданскому населению, существовавшая до революции 1917 г., прекратилась с приходом к власти большевиков. В Америке гражданский рынок продержался дольше, но гангстерские "разборки" вынудили власти в 1934 г. принять закон об оружии, предусматривавший в обязательном порядке регистрацию глушителей, в том числе и приобретенных ранее, и взимание при этом большого налога (200 долларов США). Спрос на глушители стал падать, вследствие чего заинтересованность у фирм-разработчиков пропала.
Интерес к глушителям стали проявлять военные, когда опасность войны стала очевидной. Первыми были немцы, разработавшие глушитель к служебному укороченному пистолету "Parabellum Р 08". Правда, интересы военных к этому прибору ограничивались единичными его применениями в специальных операциях. Для полного осознания роли глушителя и преимуществ снабженного им оружия, должна была начаться вторая мировая война, когда боевые действия в тылу врага стали приобретать массовый характер.