
О знаменитом ныне американце, чье имя красуется на шинах многих автомобилей, его современники говорили: "Если вы встретите на улице человека в резиновом пальто, резиновой шляпе, резиновых ботинках и с резиновым кошельком, в котором нет ни одного цента – это изобретатель метода вулканизации каучука Гудьир".
Рассказами о том, что наиболее выдающиеся технические достижения нашего времени были сделаны людьми, так и не сумевшими при жизни извлечь мало-мальски приличной выгоды из своих изобретений, полна история техники. Однако и примеров того, что благодаря своевременной поддержке предприимчивых бизнесменов те или иные теоретические разработки стали реальностью, также немало.
Этой публикацией мы начинаем цикл статей об изобретятелях-энтузиастах. На суд читателей представляем изобретение жителя Запорожья Германа Измалкова, и надеемся, что, возможно, кто-нибудь из наших предпринимателей, располагающих достаточными финансовыми средствами, усмотрит "рациональное зерно" в его предложении.
Данное изобретение относится к вооружению, а именно к личному стрелковому оружию. Цель изобретения — улучшение тактико-технических характеристик пистолета.
Пистолет отличается разъемным вдоль патронником с двумя шарнирными створками. Подача патронов осуществляется снизу, из размещенного в рукоятке магазина, шаговым транспортерем. Боевая пружина пластинчатая, закреплена на задней стенке рукоятки одним концом, боек прикреплен непосредственно на ее свободном конце. Оружие неавтоматическое, все механизмы приводятся в действие подпружиненным толкателем, размещенным в спусковой скобе.
Формула изобретения

Пистолет с толкателем в исходном положении
Пистолет состоит из рамки с рукояткой и спусковой скобой, ствоа с патронником, затвора, ударно-спускового механизма и магазина с корпусом, имеющего боковые окна и верхние загибы, и механизма подачи. Отличается тем, что, с целью улучшения тактико-технических характеристик пистолета, в нем патронник и затвор выполнены в виде заднего торца и неподвижного сектора, жестко связывающего задний торец со стволом, и двух шарнирно установленных на неподвижном секторе створок с возможностью смыкания их над магазином. Створки сопрягаются с задним торцом по скользящей посадке, в патроннике размещена тонкостенная упругая пластина, связывающая створки между собой. Неподвижный сектор выполнен с дугообразным выступом в задней части внутренней поверхности для кольцевой проточки гильзы патрона, задний торец выполнен с осевым отверстием, ударно-спусковой механизм выполнен в виде подпружиненного толкателя с боковыми пластинами, установленного в спусковой скобе и рукоятке рамки с возможностью продольного перемещения скользящей посадки, и упругой пластины, выполненной с бойком в верхней части и закрепленной на задней поверхности рукоятки с возможностью воздействия бойком через осевое отверстие заднего торца на капсюль патрона. Боковые пластины выполнены с выступами в передней верхней части для замыкания створок патронника при выстреле. Одна из боковых пластин выполнена с тонкостенным упругим хвостовиком, имеющим загнутый в сторону плоскости симметрии пистолета конец для взаимодействия с упругой пластиной бойка и разобщающий выступ, и снабжена направленным внутрь и назад тонкостенным выступом, имеющим вырез. Рамка выполнена с разобщающим выступом для взаимодействия с разобщающим выступом хвостовика боковой пластины толкателя, с окном в боковой стенке рукоятки для размещения и движения тонкостенного выступа боковой пластины толкателя и снабжена вращающимся предохранительным флажком, установленным с возможностью блокирования взаимодействия разобщающих выступов хвостовика пластины толкателя и рамки, и поворотным флажком в нижней части рукоятки для фиксации магазина в рукоятке. Боковые окна корпуса магазина выполнены сквозными в верхней части, верхние загибы корпуса магазина выполнены пружинистыми, механизм подачи выполнен в виде двух размещенных в рукоятке по сторонам магазина пластин, причем одна пластина неподвижна, а другая установлена с возможностью вертикального перемещения по скользящей посадке, при этом каждая пластина снабжена направленными внутрь и вверх пружинистыми выступами по максимальному числу патронов в магазине, размещающимися в боковых вырезах магазина. Подвижная пластина связана шарнирной тягой со створкой патронника и снабжена жестким дугообразным выступом, обращенным выпуклостью вниз, выполненным со скосом на заднем конце и размещающимся в окне боковой стенки рукоятки с возможностью взаимодействия с тонкостенным выступом, имеющим вырез, боковой пластины толкателя.

Толкатель в крайнем заднем положении
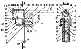
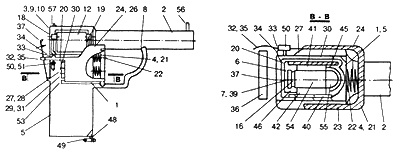
Пистолет состоит из рамки 1, ствола 2 с патронником 3, устройства содержания и подачи патронов и производства выстрела 4, рукоятки 5, магазина 6, наполненного патронами 7, и спусковой скобы 8. Патронник и затвор образованы задним торцом 9, жестко связанным неподвижным сектором 10 со стволом 2 и левой и правой соответственно створками 11 и 12, которые шарнирами 13 и 14 связаны с неподвижным сектором 10.
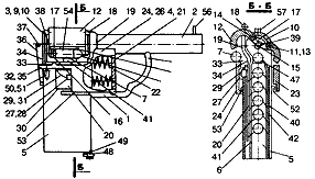
Створки 11 и 12 смыкаются внизу в плоскости симметрии пистолета. Со створками 11 и 12 жестко связана своими концами упругая пластина 15, расположенная в патроннике. Патрон 7, находясь в патроннике 3, располагается своей кольцевой проточкой 16 на дуговом выступе 17, выполненном на внутренней цилиндрической поверхности неподвижного сектора 10. Первая створка 12 двумя шарнирами 18 связана с двумя тягами 19, жестко соединенными с пластиной 20, подвижно по скользящей посадке, установленной на правой внутренней стенке рукоятки 5. В спусковой скобе 8 подвижно установлен толкатель 21, подпружиненный относительно рамки 1 двумя цилиндрическими пружинами 22 и имеющий левую и правую пластины 23 и 24. Пластины 23 и 24 в верхней передней части имеют выступы 25 и 26, блокирующие от размыкания во время выстрела соответственно створки 11 и 12. На поверхности пластины 24, образованной к рукоятке 5, имеется выступ 27 в виде тонкой упругой пластины с вырезом 28, загнутой назад и внутрь под углом 40–80°. Выступ 27, через свой вырез 28 при перемещениях пластины 24 вместе с толкателем 21 назад, вступает во взаимодействие с жестким выступом 29 в виде дуги, обращенной выпуклостью вниз и скрепленной на подвижной пластине 20. Выступ 29 проходит через продольный вырез 30 рукоятки 5. Сзади выступ 29 имеет скос 31. Пластина 24 снабжена хвостовиком 32, имеющим боковой разобщающий выступ 33, взаимодействующий с разобщающим выступом 34 рамки 1. Хвостовик 32 заканчивается упругой тонкой пластиной 35, загнутой в сторону плоскости симметрии пистолета. Пластина 35 взаимодействует с упругой пластиной 36, которая одним концом закреплена на рамке 1, а на другом имеет боек 37, взаимодействующий с капсюлем-воспламенителем 38 патрона 7 через отверстие 39 в заднем торце 9. На подвижной пластине 20 и на неподвижной пластине 40, жестко закрепленной в рукоятке 5, выполнены выступы 41 и 42 в виде жестко закрепленных тонких пружинистых пластин, наклоненных вверх и внутрь под углом 30–60° и размещенных с интервалом, равным диаметру патрона. Количество выступов на пластине равно емкости магазина. Магазин 6 вмещает 5–15 патронов 7 и имеет донную часть 43, корпус 44 с боковыми окнами 45 и 46 для выступов 41 и 42. Корпус 44 в верхней части имеет короткие пружинистые загибы 47. На рукоятке 5 на оси 48 установлен флажок 49 для фиксации магазина 6. Возле выступа 34 рамки 1 установлен предохранительный флажок 50 на оси 51, блокирующий взаимодействие выступов 33 и 34. Пластины 23 и 24 вместе с толкателем 21 составляет жесткую конструкцию. В нижней части пластин 23 и 24 выполнены буртики 52 и 53 для направления движения толкателя в рамке 1. Патрон 7 имеет гильзу 54 и пулю 55. На пистолете расположена мушка 56 и целик 57.
" class="centertable">

Взаимодействия пластины толкателя с выступом рамки
Выстрел производится следующим образом. Стреляющий пальцем, сжимает пружины 22, продвигает толкатель 21 в сторону заднего торца 9. Вместе с толкателем 21 перемещается пластины 23 и 24. По мере этого перемещения правая пластина 24 вырезом 28 своего выступа 27 воздействует на выступ 29 подвижной пластины 20. От этого воздействия пластина 20 вначале движется вверх и через тяги 19 и шарниры 18 открывает правую створку 12, поворачивающуюся на шарнирах 14 и через упругую пластину 15, открывающую и левую створку 11. При этом упругая пластина 15 отходит от поверхности неподвижного сектора 10 и выбрасывает из патронника 3 через зазор между створкой 12 и рукояткой 5 гильзу 54 патрона 7 или же патрон 7. При этом выступы 41 подвижной пластины 20 перемещают патроны, верхний из которых занимает свое место в патроннике 3, своей проточкой 16 попадая на дуговой выступ 17 неподвижного сектора 10, фиксируясь этим самым от продольных перемещений при ударе бойка 37 по капсюлю-воспламенителю 38. При этом выступы 42 неподвижной пластины 40, прогибаясь, пропускает над собой перемещаемые выступами 41 патроны 7.
После прохождения вырезом 28 самого нижнего положения по дуге выступа 29 дальнейшее взаимодействие выреза 28 с выступом 29 заставляет подвижную пластину 20 вернуться в свое прежнее положение, так как входной и выходной концы выступа 29 находятся на одном уровне.

Магазин пистолета в аксонометрии
При возвратном движении подвижной пластины 20 ее упругие выступы 41, благодаря их наклону вверх, пригибаются, и проходят над патронами 7, каждый из которых удерживается от перемещения выступами 42 неподвижной пластины 40. В нижнем положении подвижной пластины 20 ее выступы 41 захватывают очередные патроны и готовы к их подаче в патронник.
Двигаясь вниз, подвижная пластина 20 через тяги 19 закрывает створку 12, которая, в свою очередь, через упругую пластину 15 закрывает створку 11. Закрываясь, створки 11 и 12 захватывают патрон 7 и фиксируют его в патроннике 3. После окончания взаимодействия выступов 27 и 29 створки 11 и 12 блокируются от раскрывания выступами 25 и 26 пластин 23 и 24. В начале блокировки створок 11 и 12 пластина 24 упругой тонкой пластиной 35 отжимает упругую пластину 36 с бойком 37. Этот отжим продолжается до набегания бокового выступа 33 хвостовика 32 пластины 24 на выступы 34 рамки 1. Взаимодействие выступов 33 и 34 приводит к упругому отгибу хвостовика 32 и поперечному перемещению пластины 35 по пластине 36 до полного соскальзывания и освобождения ее от своего воздействия. После этого под действием упругих сил пластина 36 вместе с бойком 37 устремляется вперед, боек 37 наносит удар через отверстие 39 в заднем торце 9 по капсюлю-воспламенителю 33 патрона 7. Происходит выстрел.
После прекращения давления пальца стрелка на толкатель 21 последний вместе с пластинами 23 и 24 пружинами 22 возвращается в исходное положение. При этом подвижная пластина 20, а вместе с ней и створки 11 и 12 остаются на своих местах из-за того, что выступ 27 не вступает во взаимодействие с выступом 29 благодаря своему наклону назад, а также тому, что выступ 29 сзади имеет скос 31, не позволяющий вырезу 28 выступа 27 попадать на выступ 29. Последующий выстрел производится в том же порядке.
Для постановки пистолета на предохранитель флажок 50 поворачивают на его оси 51 в положение, при котором он упирается в хвостовик 32 и предотвращает его отгибание от рамки 1. В этом положении при нажатии на толкатель 21 осуществятся все приведенные выше операции вплоть до упора бокового выступа 33 хвостовика 32 в выступ 34 рамки 1, включая перезаряжание.
Для замены магазина 6 поворачивают флажок 49 до выхода его из контакта с донной частью 43 магазина 6, после чего пустой магазин вынимают из рукоятки 5, а наполненный вставляют и фиксируют поворотом фляжка 49 до его вхождения в контакт с донной частью 43 магазина 6.