
Вниманию читателей журнала предлагается безрасходное пневматическое ружье с подвижным (плавающим) стволом. Источником энергии для ружья служит сжатый атмосферный воздух, находящийся в пневмоаккумуляторе (ресивере).При заряжании ружья охотник затрачивает мускульную энергию на преодоление сопротивления сжимаемого воздуха, которая затем реализуется при выстреле (с учетом КПД ружья). Данная модель очень удачно сочетает надежность и безопасность с высокими эксплуатационными характеристиками — по сравнению с существующими конструкциями, она обладает наиболее высоким КПД, что подтвердили проведенные тесты, а также многочисленные победы заслуженного мастера спорта по подводной охоте А. Лагутина — чемпиона СССР, чемпиона Европы, 15-кратного чемпиона Украины. Преимуществом ружья с подвижным стволом является возможность его использования для речной охоты — рукоятка расположена под центром тяжести ружья, примерно посередине. Для морской охоты рукоятку располагают в задней части ружья.
document.stylesheets("styles").href="../../style1.css";
Принцип действия ружья:
Спусковой механизм ружья управляет подвижным стволом, который перемещаясь из одного положения в другое, открывает доступ сжатому воздуху в ствол, после чего и происходит выстрел (см. схему работы ружья). Запас сжатого воздуха хранится в пневмоаккумуляторе, представляющем собой трубу, закрытую с двух сторон крышками — передней и задней. Закачивание сжатого воздуха в ресивер осуществляется без насоса при помощи гарпуна и поршня ружья. Мощность выстрела регулируется — от максимального значения до минимального — с помощью регулятора, расположенного на задней крышке. Там же находится и стравливающий клапан, срабатывающий при нажатии на него. Все детали этой конструкции размещены внутри ресивера, в воздушной полости, благодаря чему отсутствует контакт с водой. При изготовлении ружья для подводной охоты используют следующие материалы:
В ружьях для морской охоты используют титановые сплавы вместо алюминиевого Д16Т. На все детали, изготовленные из него, нанесено покрытие АН Окс. 30 —"твердый анод", которое не уступает по твердости стали.
Устройство:
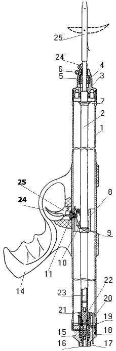
Ружье — это однообъемная конструкция с расположенной посередине или сзади рукояткой и состоящая из следующих сборочных узлов:
Узел передней крышки состоит из передней крышки (3), на которую навинчивается направляющая (4), с расположенным внутри демпфером (5). Данный узел принимает на себя удар поршня и гасит его (22) во время выстрела. Удар поршня гасится в два этапа:
| 1.ресивер | 13.спусковой крючок | ![]() |
| 2.ствол | 14.рукоятка | |
| 3.крышка передняя | 15.крышка задняя | |
| 4.направляющая | 6.ручка регулятора боя | |
| 5.демпфер | 17.регулятор боя | |
| 6.ушковый болт | 18.стравливающий клапан | |
| 7.кольцо упорное | 19.клапан | |
| 8.втулка центральная | 20.сбрасыватель линя | |
| 9.втулка упорная | 21.упор | |
| 10.шептало | 22.поршень | |
| 11.втулка гермоввода | 23.гарпун | |
| 12.толкатель | 24.скользящая втулка | |
| 25.наконечник |
Узел задней крышки состоит из корпуса задней крышки (15), регулятора силы боя (17), управляемого рукояткой (16), клапана (19) и стравливающего клапана (18). Узел задней крышки обеспечивает закачку ружья атмосферным воздухом, регулирует силу боя ружья и стравливает сжатый воздух из ресивера. Центральная втулка (8) в сборе с шепталом (10) крепится в ресивере при помощи втулки гермоввода (11) и обеспечивает фиксацию подвижного ствола (2) в положении "заряжено". Втулка гермоввода фиксирует на ресивере рукоятку (4) в сборе с курком (13).
Заряжание ружья
При сборке гарпуна придерживаются следующей последовательности. На стержень гарпуна (23) устанавливают скользящую втулку (24) и навинчивают наконечник (25). Заднюю часть гарпуна располагают в ружье, центрируют скользящей втулкой в направляющей (4) передней крышки.
Для установки ружья в положение "заряжено" необходимо перевести флажок наконечника в положение, перпендикулярное оси гарпуна. Гарпун вводят внутрь ружья до упора (пока не услышите характерный щелчок). Возвратно-поступательными движениями гарпуна, как в обычном насосе, осуществляют закачку ружья. Степень закачки контролируют по усилию, прилагаемому к гарпуну в конце движения. Для нормально закачанного ружья усилие составляет примерно 25 кг.
Разряжание ружья
Ружье разряжается следующим образом. Гарпун направляют в безопасное место, например, в землю. Одной рукой удерживают ружье, другой — флажок гарпуна. Затем нажимают спусковой крючок и гарпун выводится из ружья.
Подводное пневматическое ружье с подвижным стволом — достаточно сложный механизм, требующий особых условий эксплуатации. Соблюдение этих условий и бережное отношение позволит использовать его длительное время. По окончании охотничьего сезона, летнего или зимнего, ружье необходимо разобрать, так как влага попадает внутрь ружья через поршень во время цикла "заряжание-выстрел". Как правило, влага скапливается на внутренней поверхности ресивера в виде капель — внутренняя поверхность ресивера промаслена, как, впрочем, и все его детали.
Неполная разборка ружья предполагает снятие только передней и задней крышек в сборе.
При полнаой разборке ружье разбирают на узлы и детали. Ее необходимо выполнять в том случае, если ружье давно не разбиралось, детали загрязнены, на них скопилась влага, вследствие чего они могут корродировать. Полную разборку при нормальных условиях эксплуатации следует производить один раз в два-три года. Разобрав ружье, детали необходимо протереть тканью, высушить, осмотреть и, при отсутствии дефектов, смазать и собрать. Для смазки рекомендуется использовать масло авиационное МС 20. При отсутствии его подойдут качественные моторные масла. Масляную пленку на внутренней поверхности ресивера необходимо возобновлять через три-четыре года. Ни в коем случае нельзя использовать смазки типа ЦИАТИМ-201. Эффект получается обратный, поскольку смазки этого типа накапливают воду, выделяют смолистые компоненты, застывающие со временем, и превращающиеся в подобие пемзы. Не стоит использовать и непроверенные масла, которые могут повредить резиновые уплотнительные кольца. А через два-три месяца интенсивной эксплуатации (допускается и чаще) необходимо смазывать также поршень ружья. Случается, что со временем поршень начинает туго перемещаться в стволе (нормальное усилие перемещения составляет 0,5–1,0 кг) и даже применение смазки не уменьшает прилагаемое усилие. В этом случае поршень необходимо вынуть из ружья и "вышкурить" при помощи дрели и мелкозернистой наждачной бумаги ("нулевки"). Диаметр поршня нужно уменьшить приблизительно на 0,1 мм. "Разбухание" капролонового поршня происходит за счет воздействия масла и эксплуатационных нагрузок. Конструкция ружья рассчитана на выполнение выстрела в воде. При производстве выстрела в воздухе может выйти из строя поршень и демпфер. Если "речной" вариант ружья (алюминиевое) использовали в морской воде, его необходимо разобрать, промыть в пресной воде, просушить, смазать и собрать. Для постоянной эксплуатации в морской воде следует использовать только "титановый" вариант ружья.
Данная конструкция ружья, разработанная и усовершенствованная в Киеве, очень популярна не только среди украинских подводных охотников, но и у охотников России, Латвии и других стран мира.